X線チューブ:新製品の発表

2025-09-02

High Hope Inc.は、新しく開発されたことを発表できることを非常に誇りに思っていますX線チューブ - XC 24。


仕様:

p/n
公称電圧 ターゲット角 フォーカルスポット アノード熱貯蔵容量 最大アノード熱散逸率 シールド
XC24 100 kV 15° 1.0 mm 45ゾーン(31.5 kJ) 19.4ゾーン /分 ガラス繊維/リード


テスト:

p/n
高電圧テスト1 高電圧テスト2 暴露テスト
XC24 100 kV / 1 mA / 10分 110 kV / 1 MA / 15分 100 kV / 15 Ma / 3秒



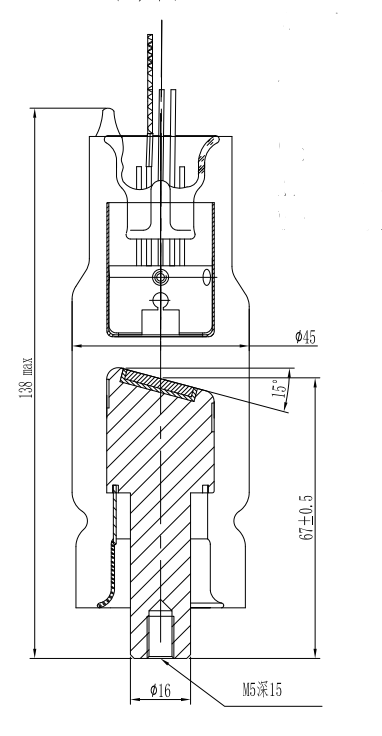
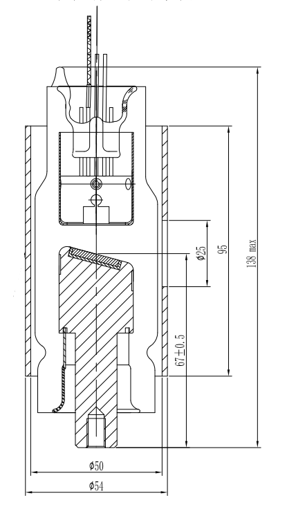
概要:

シールドなし(上記)


シールド付き(上記)

繊維ガラス:φ54

リード:φ58


X
We use cookies to offer you a better browsing experience, analyze site traffic and personalize content. By using this site, you agree to our use of cookies. Privacy Policy